| 注意:访问本站需要Cookie和JavaScript支持!请设置您的浏览器! • 打开购物车 • 查看留言 • 付款方式 • 联系我们 |
![]() |
| 首页 | 电子入门 | 学单片机 | 免费资源 | 下载中心 | 商品列表 | 象棋在线 | 在线绘图 | 加盟五一 | 加入收藏 | 设为首页 |
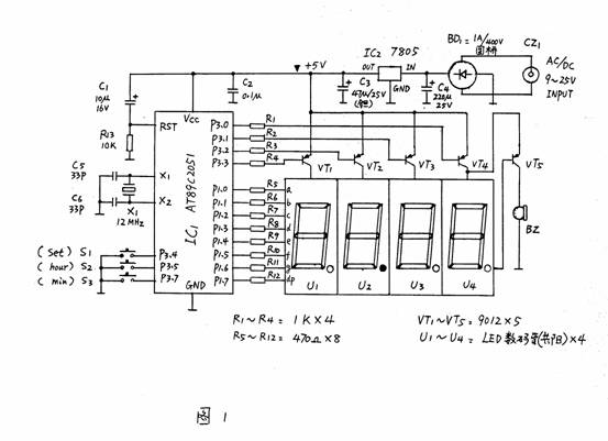
| 选择分类:当前分类——学单片机 相关联或者相类似的文章: 三十分钟一个小时学会单片机(9045) 什么是单片机?单片机有什么用? (8723) 如何用STC板将代码烧录进IC(8681) 怎样安装AT51编程板的USB转串口软件?(8206) 送给单片机爱好者——LED在线编码器(1814) 送给单片机爱好者——LED点阵在线编码器(1544) 单片机系统中的汉字显示(1492) 带语音报数功能的抢答器(1489) 用VB进行串口实时数据采集(1347) 用AT89C2051设计超声波测距仪(1171) 小小电子闹钟 生活学习良伴(1165) DS1820测温原理(1129) 几句代码实现控制摄像头(转)(1117) STC单片机选型指南(1111) 自制PIC单片机编程器(1105) USB转串口芯片CH340(1010) 快速学习单片机之黄金机会!(1010) 告戒购单片机开发实验板初学者(970) 新款实用旋转LED显示屏A(890) 使用市售 USB转RS232串口与PLC通信的测试报告 (881) 首页 前页 后页 尾页 本站推荐: | 小小电子闹钟 生活学习良伴 小小电子闹钟 生活学习良伴 ——— 一款电路极简的单片机电子钟设计详解 电路特点 这里介绍的电子钟,电路可称得上极简,它仅使用单片的20引脚单片机完成电子钟的全部功能,而笔者见到的其它设计方案均采用二片以上的多片IC实现。 电路见图1。 ![]() 一片20引脚的单片机AT89C2051为电子钟主体,其显示数据从P1口分时输出,P3.0~3.3则输出对应的位选通信号。由于LED数码管点亮时耗电较大,故使用了四只PNP型晶体管VT1~VT4进行放大。本来笔者还有一种更简的设计方案(见图2),可省去VT1~VT4及R1~R4八个元件,但这种设计由于单片机输出口的灌入电流有限(约20mA),数码管亮度较暗而不向读者介绍,除非你采用了高亮度的发光数码管。 ![]() P3.4、P3.5、3.7外接了三个轻触式按键,这里我们分别命名为:模式设定键set(P3.4)、时调整键hour(P3.5)、分调整键min(P3.7)。C1、R13组成上电复位电路。VT5及蜂鸣器Bz为闹时讯响电路。三端稳压器7805输出的5V电压供整个系统工作。此电子钟可与任何9~20V/100mA的交直流电源适配器配合工作,适应性强。 电子钟功能 1.走时:通过模式设定键set选择为走时,U1、U2显示小时,U3、U4显示分。U2的小数点为秒点,每秒闪烁一次。 2.走时调整:通过模式设定键set选择为走时调整,按下hour键对U1、U2的走时“时”显示进行调整(每0.2秒递加1)。按下min键对U3、U4的走时“分”显示进行调整(每0.2秒递加1)。 3.闹时调整:通过模式设定键set选择为闹时调整,按下hour键对U1、U2的闹时“时”显示进行调整(每0.2秒递加1)。按下min键对U3、U4的闹时“分”显示进行调整(每0.2秒递加1)。 4.闹时启/停设定:通过模式设定键set选择为闹时启/停设定,按下min键U3的小数点点亮,闹时功能启动;按下hour键U3的小数点熄灭,闹时功能关停。 由于电路设计得极其简单,因此丰富的功能只能由软件完成,这里软件设计成为了关键。下面介绍软件设计要点。 图3为主程序状态流程。 ![]() 图3 运行时建立的主要状态标志如下: flag—掉电标志。掉电后,flag内为一随机数;重新设定时间后flag内写入标志数55H。 set—工作模式设定标志。 hour—走时“时”单元。 min—走时“分”单元。 sec—走时“秒”单元。 deda—走时5mS计数单元 t_hour—闹时“时”单元。 t_min—闹时“分”单元。 d_05s—0.5秒位标志。每秒钟的前0.5秒置1,后0.5秒置0,以使秒点闪烁。 o_f—闹时启/停位标志。闹时启动置1,闹时关停置0。 另外将定时器T0设定为5mS的定时中断。这里晶振频率为12MHz,因此5mS的初值为-5000,但实际上程序还要作其它运算,使得时间偏长,经调整为-4800后试验刚好。计时单元deda每次中断均加1。走时函数判断deda>=200时即令秒单元sec加1。同理秒单元sec满60后令分单元min加1。分单元min满60后令时单元hour加1。时单元hour满24后清0。 上电后,首先进行初始化,对各状态标志、输入输出口及定时器T0进行初始化工作,以适应后面程序的要求。 随后程序判断有无set键按下,如按下,则set键值从0起加1。set键值只能从0加到3,然后又回到0。 接下来,根据键值进行散转。若set=0,运行走时程序;若set=1,进入调整闹时时间程序;若set=2,进入调整走时时间程序;若set=3,显示已调好的闹时时间,同时进入启/停闹时程序。 散转完后,进行判断掉电标志flag是否等于55H。若不等,说明刚开机上电或运行过程中掉过电,这时四个数码管以1Hz的频率闪烁四个8字,提示时间不准;若相等,说明未掉电,RAM区内容未变化,时间准确。 再下来程序又转回到初始化之后进行循环运行。 由于使用了四只数码管密集排列,因此只能采用双面印刷板设计,图4、5分别为正面(元件面)、反面的印板图。尺寸3000milx4000mil(7.62cmx10.16cm)。图6为计算机输出的三维仿真印制板。 ![]() 图4 ![]() 图5 ![]() 图6 元件选用 为了走时准确,晶振X最好选用温漂小的。四个数码管U1~U4可选用发绿光的,这样光泽较柔和。蜂鸣器Bz要购买绕线型的电动式蜂鸣器(市场上有一种加电压即工作的蜂鸣器这里不适用),因驱动信号为脉冲信号。其它元件一般无特殊要求。 使用方法 上电后,四个LED数码管闪烁四个8字。 按一下set键,闪烁现象消失(此时set=1),U1的小数点亮,说明此刻可以调整闹时时间。按下hour键,U1、U2作加法;按下min键,U3、U4作加法。这些调整好的数据被同时送入RAM区的闹时记忆“时”单元t_hour和闹时记忆“分”单元t_min。 再按一下set键,set=2,U2的小数点亮,此刻可以调整走时时间。按下hour键,U1、U2作加法;按下min键,U3、U4作加法。这些调整好的数据也被同步送入RAM区的“时”记忆单元hour和“分”记忆单元min。 再按一下set键,set=3,显示刚才调整的闹时时间,此刻可以选择启动/关停闹时。按下min键,o_f位标志置1,U3的小数点亮,闹时启动;按下hour键,o_f位标志置0,U3的小数点灭,闹时关闭。 若再按一下set键,set=0,电路进入走时状态,U1、U2显示小时,U3、U4显示分。U2的小数点作秒点闪烁。 在闹时启动的情况下,走时到达设定闹时,则蜂鸣器Bz鸣响一分钟进行提醒。 附:用C51编写的源程序清单(已由实验板运行通过) #include #define uchar unsigned char #define uint unsigned int char DATA_7SEG[10]={0xC0,0xF9,0xA4,0xB0,0x99, 0x92,0x82,0xF8,0x80,0x90,};/*0~9的数码管段码*/ uchar hour=0,min=0,sec=0; /*时、分、秒单元清零*/ uchar deda=0; /*5mS计数单元清零*/ uchar t_hour=0,t_min=0; /*闹时时、分单元清零*/ bit d_05s=0; /*0.5秒标志*/ bit o_f=0; /*闹时启/停标志*/ uchar set=0; /*模式设定标志*/ uchar m=0; uchar flag=0; /*RAM掉电标志*/ void delay(uint k); /*延时子函数*/ void conv(); /*走时单元转换*/ void p_out(); /*判别闹时到否子函数*/ void dirve(); /*走时时间输出驱动子函数*/ void t_dirve(); /*闹时时间输出驱动子函数*/ /*闹时启/停子函数*/ void time1_of() {uchar m; if(P3_7==0)delay(1); if(P3_7==0)o_f=1; for(m=0;m<30;m++) { t_dirve(); P1=DATA_7SEG[t_min/10];P3=0xfd;delay(1); if(P3_1==0){if(o_f==1)P1_7=0;}else P1_7=1; delay(1); } if(P3_5==0)delay(1); if(P3_5==0) o_f=0; for(m=0;m<30;m++) { t_dirve(); P1=DATA_7SEG[t_min/10];P3=0xfd;delay(1); if(P3_1==0){if(o_f==1)P1_7=0;else P1_7=1;} delay(1); } } /*走时函数*/ void time() { conv(); /*走时单元转换*/ dirve(); /*走时时间输出驱动子函数*/ p_out(); /*判别闹时到否子函数*/ } /*定时器T0 5mS初始化*/ void init_timer() { TMOD=0x01; TH0=-(4800/256); TL0=-(4800%256); IE=0x82; TR0=1; } /*扫描按键子函数*/ void scan_key() { delay(1); if(P3_4==0)set++; if(set>=4)set=0; if(set==1)flag=0x55; F0:if(P3_4==0)goto F0; /*按键未释放,在此等候*/ } /*延时子函数*/ void delay(uint k) { uint i,j; for(i=0;i for(j=0;j<121;j++) {;}} } /*5mS定时中断服务子函数*/ void zd(void) interrupt 1 { TH0=-(4800/256); TL0=-(4800%256); deda++; } /*调整走时时间*/ void time_adj() {uchar m; if(P3_5==0)delay(1); if(P3_5==0)hour++; if(hour==24)hour=0; for(m=0;m<30;m++) { dirve(); if(P3_2==0)P1_7=0; else P1_7=1; delay(1); } if(P3_7==0)delay(1); if(P3_7==0)min++; if(min==60)min=0; for(m=0;m<30;m++) { dirve(); if(P3_2==0)P1_7=0; else P1_7=1; delay(1); } } /*调整闹时时间*/ void time1_adj() {uchar m; if(P3_5==0)delay(1); if(P3_5==0)t_hour++; if(t_hour==24)t_hour=0; for(m=0;m<30;m++) { t_dirve(); } if(P3_7==0)delay(1); if(P3_7==0)t_min++; if(t_min==60)t_min=0; for(m=0;m<30;m++) { t_dirve(); } } /*时、分、秒单元及走时单元转换*/ void conv() { if(deda<=100)d_05s=0; else d_05s=1; if(deda>=200){sec++;deda=0;} if(sec==60){min++;sec=0;} if(min==60){hour++;min=0;} if(hour==24){hour=0;} } /*走时时间输出驱动子函数*/ void dirve() { P1=DATA_7SEG[hour/10];P3=0xf7;delay(1); P1=DATA_7SEG[hour%10];P3=0xfb;delay(1); if(d_05s==1){if(P3_2==0)P1_7=0;else P1_7=1;} delay(1); P1=DATA_7SEG[min/10];P3=0xfd;delay(1); if(o_f==1){if(P3_1==0)P1_7=0;else P1_7=1;delay(1);} P1=DATA_7SEG[min%10];P3=0xfe;delay(1); } /*闹时时间输出驱动子函数*/ void t_dirve() { P1=DATA_7SEG[t_hour/10];P3=0xf7;delay(1); if(P3_3==0)P1_7=0;else P1_7=1; delay(1); P1=DATA_7SEG[t_hour%10];P3=0xfb;delay(1); P1=DATA_7SEG[t_min/10];P3=0xfd;delay(1); P1=DATA_7SEG[t_min%10];P3=0xfe;delay(1); } /*判别闹时到否子函数*/ void p_out() { if(o_f==1){ if(t_hour==hour){if(t_min==min) if(P3_0==0){P1_7=0;delay(1);} else P1_7=1; } } } /*主函数*/ void main() { init_timer(); /*定时器T0初始化*/ while(1) /*无限循环*/ { if(P3_4==0)scan_key(); /*有按键,调用按键扫描子函数*/ switch(set) /*根据set键值散转*/ { case 0:time();break; /*走时时间程序*/ case 1:time1_adj();break; /*闹时时间调整*/ case 2:time_adj();break; /*走时时间调整*/ case 3:time1_of();break; /*启/停闹时*/ default:break; /*其它退出*/ } if(flag!=0x55) /*判断掉电标志*/ {for(m=0;m<100;m++) /*点亮四个8字400mS*/ { P1=0x80;P3=0xf7;delay(1); P1=0x80;P3=0xfb;delay(1); P1=0x80;P3=0xfd;delay(1); P1=0x80;P3=0xfe;delay(1); } P1=0xff;P3=0xff;delay(400); /*熄灭四个8字400mS*/ } } } 于老师:祝工作顺利!身体安康! 201103 上海市虹中路399号 上海忠能电子有限公司 周兴华 6-23 (此稿刚完成) 1、 本站不保证以上观点正确,就算是本站原创作品,本站也不保证内容正确。 2、如果您拥有本文版权,并且不想在本站转载,请书面通知本站立即删除并且向您公开道歉! |
|
本站协议 |
版权信息 |
关于我们 |
本站地图 |
营业执照 |
发票说明 |
付款方式 |
联系方式
深圳市宝安区西乡五壹电子商行——粤ICP备16073394号-1;地址:深圳西乡河西四坊183号;邮编:518102 E-mail:51dz$163.com($改为@);Tel:(0755)27947428 工作时间:9:30-12:00和13:30-17:30和18:30-20:30,无人接听时可以再打手机13537585389 |